Skip to content

« Back

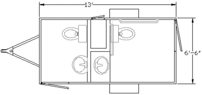
2 Station 13' Handicap Accessible Non Lowering


2 Station 13' Handicap Accessible Non Lowering

  • sku# 4205NB
  • ADA Compliant
  • handicapped/family room with required 60" turning circle
  • grab bars around toilet
  • hands-free sink
  • mirror
  • 36" entry door
  • Optional wheel chair ramp available
  • with or without utility room
Request a Quote   


Trailer Specifications
  • Lowest floor height with large waste tanks
  • Rooftop air-conditioners, 13,500 BTU, with 5600 BTU heat strips included
  • Porcelain RV style water-saving toilets, one pint per standard flush
  • Timed faucets
  • Mirrors
  • Linoleum floors, single piece in each room protects the trailer from water damage
  • Powder coated toilet partitions
  • Urinal privacy screens
  • Standard Fiberglass wall panels, attractive and easy to clean
  • LED Interior lighting, interior and exterior
  • Tank level visual sight level indicator for waste tanks

Trailer Frame/Shell
  • Our high quality steel trailer frame and exterior walls are built to last
  • White, Charcoal or Pewter aluminum exterior skin for a corrosive free look. Other exterior colors are available upon request (minimal charge applies)
  • Thick aluminum skin (0.40) for increased durability.
  • 7,000 lbs Independent Torsion Suspension axles and trailer rated radial tires help provide smoother, safer towing.
  • E-Z Lube Hubs With steel wheels
  • Modular-styled rims w/E-Coat prime and powder finish
  • All-wheel brakes w/12 volt breakaway switch and battery
  • D.O.T. premium LED superior trailer lights
  • Warranty: 5 years on frame and axles, 1 year overall warranty, unless superseded by their manufacturers warranty.

Optional Items
  • Laminated walls with matching trim, easy to clean and durable.
  • Solid core oak doors, smooth or 6-panel.
  • Sound amplification system
  • Exterior lighting
  • All necessary dispensers available, and baby changing stations.
  • Roof vents
  • Skirts, for around base of trailer
  • Tank level sensors
  • LED occupied lights
  • Commercial grade PEX tubing to be used in all plumbing applications (highly resistant to breakage and freezing).
  • Extra heaters for extreme climates of sub-zero temperatures.
  • Awnings
  • Aluminum rims
  • Water storage tanks, with pumps and heaters.